discontinued

Ladylux Plus 单把手厨房龙头

产品编号
33755SDE
EAN编码
4005176853951
颜色
不锈钢
产品规格(PDF)

Product main features

  • 综合可拔出式触控两用型花洒
  • 单孔安装
  • 高仪乐可节技术减少耗水量
  • 实心不锈钢本体
  • 46 毫米阀芯
  • 高仪持久镀铬饰面 
  • 高仪真钢 产品材料(不锈钢本体)
  • 旋转出水360°
  • 综合可抽拉式人体工学手持花洒
  • 快速清洁技术,防止水垢 
  • 不锈钢连接软管
  • 双止回阀
  • 快速安装系统
  • 把手
  • 各种把手位置
  • 投影 206毫米
  • Ladylux Pro 协调设计

Technical Product Information

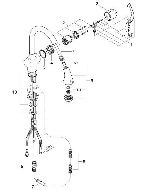
邮编 生产描述 订货号
1 把手 46309SD0
1.1 配件套组 46310000
2 面板 46655SD0
3 阀芯 46048000
4 Guide and slide ring 46632V00
5 手持花洒 46659ND0
5.1 起泡器 13952000
5.2 防回流阀 08565000
5.2 防回流阀 64689000
5.3 滤网 0676800M
6 Metalflex hose 46174000
7 弹簧 07240000
8 快速连接器 46315000
9 Shank mounting kit 46345000